皇冠信用網结算日是哪天 _刚刚,跳水!超20万人爆仓
如何申请皇冠代理(huangguan.hk—)开会员号,招代理/条件好/皇冠体育/出租/招登1登2登3地区代理【导读】加密货币市场集体走低皇冠信用網结算日是哪天 ,超20万人被爆仓
中国基金报记者 晨曦
刚刚皇冠信用網结算日是哪天 ,加密货币市场再度跳水!
10月14日晚间,比特币再度走低,一度跌破11万美元,跌幅达4.6%皇冠信用網结算日是哪天 。

以太坊一度跌破3900美元,跌幅超8%皇冠信用網结算日是哪天 。

主流加密货币集体走低,狗狗币、币安币、艾达币等均大幅下跌皇冠信用網结算日是哪天 。

展开全文
CoinGlass数据显示,最近24小时,全球共有20.66万人被爆仓,爆仓总金额为6.56亿美元,其中,多单爆仓4.75亿美元,空单爆仓1.82亿美元皇冠信用網结算日是哪天 。

美股加密货币概念股普跌皇冠信用網结算日是哪天 。

此外,根据德勤近期研究,约25%的比特币可能暴露在量子攻击风险下皇冠信用網结算日是哪天 。若这些比特币未能及时转移至抗量子地址,待强大量子运算机投入使用后,可能造成数千亿乃至兆美元的损失。数字资产管理公司Capriole Investment创始人、长期比特币倡导者Charles Edwards指出,量子运算威胁远比普遍认知的更迫近,并敦促社区在2026年前构建防御体系。
北京时间周三凌晨00:20,美联储主席鲍威尔将在全美商业经济协会举办的活动上发表讲话,主题为《经济展望与货币政策》皇冠信用網结算日是哪天 。业内认为,鲍威尔的讲话可能左右市场对降息节奏及整体货币政策的预期,从而决定当前加密货币市场的下行趋势是加剧还是企稳。
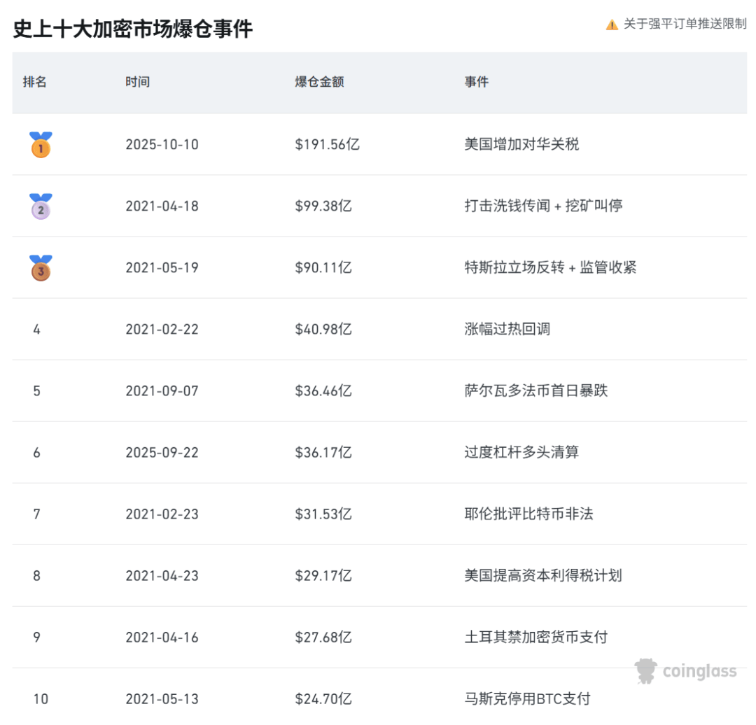
就在上周,美国总统特朗普发布关税威胁,加密货币市场遭遇“大清洗”,主流币种集体大跌皇冠信用網结算日是哪天 。CoinGlass数据显示,10月10日爆仓金额超191亿美元,居于历史首位。随后虽有所回升,但当天暴跌的“创伤”仍令投资者心有余悸。

区块链数据公司Santiment指出,上周五的抛售并非单纯受关税消息驱动皇冠信用網结算日是哪天 。散户交易者迅速将暴跌归咎于关税对峙,但更深层的结构性问题正在积聚,包括过度杠杆和多头仓位的极端集中。
TD Cowen分析师在近期报告中表示,美国参议员们在推动加密货币市场结构法案通过一事上行动迟缓,这可能导致该法案的通过时间推迟至中期选举之后皇冠信用網结算日是哪天 。
过去一年,已有多名民主党人对特朗普总统与数字资产的关联表示担忧,这一情况反过来使立法进程变得更加复杂皇冠信用網结算日是哪天 。据计算,特朗普通过其家族的加密货币项目(包括World Liberty Financial去中心化金融稳定币项目,以及“TRUMP”“MELANIA”两款迷因币)已获利约6.2亿美元。
编辑:黄梅
校对:王玥
制作:舰长
审核:陈墨
版权声明
《中国基金报》对本平台所刊载的原创内容享有著作权,未经授权禁止转载,否则将追究法律责任皇冠信用網结算日是哪天 。
猜你喜欢
- 2小时前皇冠信用最新地址 _日本:多地停课!发布警报!
- 2小时前皇冠信用最新地址 _电量显示还能跑60公里,结果十几公里就趴窝了!杭州男子在高速遇窘境,交警:冬季新能源车辆应保持电量在30%以上
- 6小时前皇冠信用网 _美国大豆比巴西豆贵还加税,中国采购停滞不是违约,市场规律才是关键?
- 8小时前皇冠平台_U22国足主帅安东尼奥:拜合拉木是惊喜
- 8小时前皇冠平台_断崖式下跌,最低-5℃!杭州下雪有消息了!今秋第一条棉毛裤可以准备好
- 8小时前皇冠平台_东契奇41+9字母空砍32+10 湖人胜雄鹿结束五连客
- 10小时前皇冠体育App下载 _中国战舰抵近日本,美国火速“切割”,特朗普要弃车保帅?绍伊古怒斥高市早苗:美国附庸
- 12小时前如何代理皇冠信用 _世预赛-比利时1-1十人哈萨克斯坦 还剩1轮2分领跑积分榜
- 15小时前皇冠信用盘庄家 _易烊千玺,金鸡奖最年轻的最佳男主角!宋佳,最佳女主角!
- 17小时前welcome皇冠注册 _“梦之队”四川女篮遗憾失金,冠军广东队感谢强大的对手成就自己
- 18小时前皇冠信用网会员开户 _向着卫冕前进!王曼昱战胜陈梦,闯入全运会乒乓球女单决赛
- 20小时前皇冠信用盘注册开通 _警惕!高市早苗有新动作
- 1天前皇冠信用网 _终于反应过来了?高市早苗当局:福建舰要远海作战,日本如临大敌
- 1天前皇冠信用网会员 _三大航司发布日本航线客票处理通知:机票可免费退改
- 1天前皇冠登3代理出租 _杜兰特30分申京25+10+9 火箭大胜开拓者取三连胜
- 2天前皇冠信用網代理怎么申请 _普利西奇与亚沙里双双出战!AC米兰友谊赛背后的战术意义与球员故事
- 2天前皇冠信用網需要押金吗 _华为Mate 80系列再曝光:搭载20GB国产大内存与麒麟9030芯片
- 2天前皇冠信用网代理出租 _日本向G7告状,中方却反将一军:胆敢武力介入台海,形同侵略必予以迎头痛击!
- 3天前皇冠信用网代理流程 _辛芷蕾回老家鹤岗狂炫烧烤小串,满桌硬货滋滋冒油,网友:隔着屏幕流口水
- 3天前皇冠信用網会员开户 _覃海洋成绩被取消,赛后回应称“入水动作出现失误”
- 3天前皇冠信用网足球代理 _日媒:石破茂反对高市早苗在国会发表涉台谬论
- 3天前皇冠信用网押金多少 _江苏扬州:累计培养输送2300多名医学人才到基层
- 3天前皇冠会员如何申请 _鲁比奥讥讽欧洲:要你们教美国做事,要“战斧”导弹的时候怎么不反对?
- 3天前皇冠信用盘平台 _比高市早苗更希望中日开战的人出现?公然叫嚣驱逐薛剑总领事,还要追究到底


网友评论